一、會員前臺注冊
會員在前臺頁面注冊會員賬號

注冊成功后在會員中心點(diǎn)擊實(shí)名認(rèn)證

填寫實(shí)名認(rèn)證的信息,上傳身份證,在點(diǎn)擊提交

提交后跳轉(zhuǎn)頁面等待網(wǎng)站管理員審核

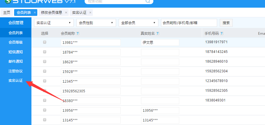
二。網(wǎng)站管理員后臺審核
在后臺用戶管理》會員管理

在會員管理點(diǎn)擊實(shí)名認(rèn)證

點(diǎn)擊后面的審核按鈕

核對信息后沒問題點(diǎn)擊通過(或者不通過)

審核通過后網(wǎng)站管理員會在前臺的會員中心查看真是姓名一欄顯示的真實(shí)信息

小米
會員評論